Трехходовой клапан на системе отопления: работа, правила выбора, схема и монтаж
Для постоянного поддержания в доме комфортного теплового баланса в отопительный контур включают такой элемент, как трехходовой клапан на системе отопления, равномерно распределяющий тепло по всем комнатам.
Несмотря на важность этой единицы, сложной конструкцией она не отличается. Давайте разберемся в конструктивных особенностях и принципах работы трехходового клапана. Каких правил стоит придерживаться выбирая приспособление и какие нюансы присутствуют в его монтаже.
Особенности трехходового клапана
Вода, поступающая к радиатору, имеет определенную температуру, влиять на которую зачастую нет возможности. Трехходовой клапан осуществляет регулировку путем изменения не температуры, а количества жидкости.
Это дает возможность, не изменяя площади радиатора, подавать в комнаты нужное количество тепла, но только в границах мощности системы.
Разделительные и смесительные приборы
Визуально трехходовой клапан имеет сходство с тройником, но выполняет совершенно иные функции. Такой узел, оснащенный терморегулятором, относится к запорной арматуре и является одним из главных ее элементов.
Существует два вида этих устройств: разделительные и смесительные.
Первые применяют, когда теплоноситель нужно подать одновременно в нескольких направлениях. Фактически узел представляет собой смеситель, формирующий стабильный поток с установленной температурой. Монтируют его в сеть, по которой подают нагретый воздух, и в водоподающие системы.

Клапан трехходовой применяют как в качестве смесителя, так и распределителя воздуха или теплой воды
Изделия второго вида служат для объединения потоков и их терморегуляции. Для входящих потоков, имеющих разную температуру, предусмотрено два отверстия, а для их выхода — одно. Применяют их при устройстве теплых полов, чтобы предотвратить перегрев поверхности.
Клапан трехходовой и регулятор температуры есть в продаже по отдельности. Для автономных отопительных систем все же более рациональным и эффективным решением считается приобретение конструкции с терморегулятором.
Конструктивное исполнение трехходовых кранов
По конструкционному исполнению клапаны делят на седельные и поворотные. Принцип действия первых основан на ритмичном передвижении штока по вертикали — схема регулировки «шток-седло». Этот вид относится к клапанам смесительного типа. Часто управление осуществляется электромеханическим приводом.
Ключевым элементом поворотной конструкции является вращающийся сектор. Во время движения шток воздействует на шаровую заслонку, и она частично или полностью отсекает подачу теплоносителя. Такую схему регулировки называют «шарик-гнездо».
Эти устройства обладают повышенной износостойкостью. Они адаптированы под большие перепады температур и классифицируются как запорная арматура. В частных домах, где вода расходуется в относительно небольшом количестве, они могут функционировать и как смесители.
Особенностью смесительного клапана является наличие одного выхода и двух входов. Он предназначен для управления температурой рабочей жидкости путем объединения потоков с высокой и низкой температурой. При соответствующей установке, изделие может и разделять потоки.

Здесь схематически отображена работа трехходового крана седельного смесительного и разделительного типа
Трехходовой клапан разделительного типа применяют, когда необходимо подать горячий теплоноситель по нескольким направлениям.
Все модели таких кранов отличаются друг от друга по некоторым признакам:
Смесительное устройство снабжено штоком, размещенным по центру, шаровой клапан в нем один. Он перекрывает в нужный момент затвор входного отверстия.
В приборах разделительного типа шток оснащен двумя клапанами, вмонтированными в выходных патрубках.
Функционирует он по несколько другой схеме. Понятней становится работа трехходового клапана после подробного разбора его конструкции.

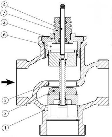
Составными частями трехходового клапана являются: корпус (1), вставка клапана (2), конус клапана (3), полированный штока клапана (4), седло клапана (5), разгрузочная камера (6), сальниковое уплотнение (7)
Корпус у этого типа изделий литой. Изготавливают его из латуни либо бронзы с гальваническим покрытием из хромоникеля. Оно выполняет как защитные, так и декоративные функции. Для соединения с трубопроводом имеются резьбовые отводы — всего три штуки. Тип резьбового соединения зависит от выбранной модели.
Оптимальные параметры давления в отопительной системе для стабильной работы клапана — 10 кг/см². При превышении этого значения, могут возникнуть проблемы.
Существуют ограничения и по температурным показателям — 95º для котлов, 110º — для солнечных батарей. Допустимая регулировка температуры теплоносителя у разных моделей находится в диапазоне 20-60º. Производительность колеблется в пределах 1,6–2,5 м3/ч.
Принцип работы устройства
Установкой смесительного трехходового клапана удается добиться того, что температура жидкости на выходе имеет значение в установленных пределах.
Принцип работы как для замкнутой отопительной системы, так и для системы ГСВ один и тот же. Отличие только в том, что в первом случае теплоноситель равномерно передает тепло от источника к радиаторам, а во втором — переносит теплую воду к бытовым приборам.
До момента, пока термочувствительный элемент не приобретет определенную температуру, теплоноситель подается из фронтального патрубка и беспрепятственно прибывает в правый. По достижении рабочим элементом температуры выше установленной, происходит его расширение.
Это влечет за собой перемещение клапана по вертикали вниз и, как следствие, перекрытие пути поступления нагретого теплоносителя снизу. Следом открывается левый патрубок для подачи холодной жидкости.

На схеме показан порядок подключения трехходового клапана в автономную систему отопления. При его отсутствии в обратном контуре может образовываться конденсат как следствие снижения температуры
Смешивание холодной жидкости с горячей приводит к уравновешиванию температуры. Термочувствительный элемент приобретает прежнюю форму, а заслонка — первоначальное положение.
Если трехходовой клапан установлен в обратный контур, то процесс должен происходить в противоположной последовательности. Когда жидкость охлаждается, напрямую открывается путь для горячей воды из котла.
Приводной механизм прибора
Разным у клапанов может быть и тип приводного механизма. Привод бывает как гидравлическим, так и электромеханическим, пневматическим, ручным.
Привод электромеханический делят на виды, самым распространенным среди которых является простой термостатический. Функционирует в результате расширения жидкости с термоактивным элементом в ее составе. В результате этого возникает давление на шток. Это легкосъемное исполнение, применяемое в изделиях, установленных в бытовых системах.
Следующий вариант — привод с термостатической головкой, укомплектованной чувствительным к изменению температуры элементом. Прибор дополнен выносным датчиком температуры, находящимся непосредственно в трубопроводе. С приводом его соединяет капиллярная трубка.
Этот вид регулировки считается наиболее точным. По желанию простой термостатический привод легко можно сменить на термостатическую головку.

Для клапана с электроприводом пусковым механизмом могут являться электромагниты, сервоприводы, основывающиеся на маломощных электродвигателях или системах передач
Существуют вариант трехходового клапана с электрическим приводом. Управление им осуществляется посредством контроллера, оснащенного температурными датчиками и подающего команды на основной механизм. Упрощенным вариантом привода с контроллером является сервопривод.
Он управляет клапаном напрямую. Самый простой привод — ручной. Здесь регулировку выполняют путем поворота пластмассового колпачка, имеющего резьбовое соединение. Его дно контактирует с концом штока. Путем закручивания или откручивания перемещают золотник.
Наличие электро- или сервопривода позволяет программировать температурный режим с ориентацией по времени суток. Изначально в комплектацию трехходового клапана не входит приводной механизм. Его приобретают отдельно исходя из особенностей конкретной теплосети. Использовать изделие можно в отопительной системе любого исполнения.
Где используют трехходовые клапаны?
Встречаются клапаны этого типа в разных схемах. Их включают в монтажную схему теплых полов для обеспечения равномерного нагрева всех его участков и исключения перегрева отдельных ответвлений.
В случае наличия твердотопливного котла в его камере часто наблюдается конденсат. Бороться с ним поможет установка трехходового крана.

Клапан, встроенный в систему «теплый пол» отвечает за поддержание температуры на желаемом уровне, подмешивая к теплоносителю небольшие порции горячей воды
Эффективно работает трехходовое устройство в системе отопления, когда существует необходимость подключить контур ГВС и разделить тепловые потоки.
Применение клапана в обвязке радиаторов позволяет обойтись без байпаса. Установка его на обратке создает условия для устройства короткого контура.
Нюансы выбора приспособления
Общими при выборе подходящего трехходового клапана являются следующие рекомендации:
- Предпочтительнее авторитетные производители. Часто на рынке встречается некачественная запорная арматура от неизвестных фирм.
- Большей износостойкостью обладают изделия медные или латунные.
- Ручное управление более надежное, но менее функциональное.
Ключевым моментом являются технические параметры системы, в которую его предполагают устанавливать. Учитывают такие ее характеристики: уровень давления, наибольшая температура теплоносителя в точке монтажа прибора, допустимое снижение давления, объем воды, проходящей через клапан.
Хорошо будет работать только клапан с правильно подобранной пропускной способностью. Для этого нужно сравнить производительность своей водопроводной системы с коэффициентом пропускной способности прибора. Она в обязательном порядке обозначена на каждой модели.
Для комнат ограниченной площади, таких как санузел, дорогой клапан с термосмесителем выбирать нерационально.
На больших площадях с теплыми полами необходим прибор с автоматическим регулированием температуры. Ориентиром для выбора также должно являться соответствие изделия ГОСТу 12894-2005.
Стоимость может быть самой разной, все зависит от производителя.
В загородных домах с установленным твердотопливным котлом схема отопления не отличается большой сложностью. Здесь вполне подойдет трехходовой клапан упрощенной конструкции.
Он функционирует автономно и у него нет термоголовки, датчика, и даже штока. Термостатический элемент, управляющий его работой, настроен на какую-то определенную температуру и находится в корпусе.
Производители трехходовых приборов
На рынке присутствует большой ассортимент трехходовых клапанов как от авторитетных, так и никому не известных производителей. Модель можно выбирать после того, как будут определены общие параметры изделия.
Первое место в рейтинге продаж занимают вентили шведской компании Эсбе (Esbe). Это довольно известный бренд, поэтому трехходовые изделия надежны и долговечны.

Трехходовой клапан Esbe смесительного типа применяют как в системах отопления, так и охлаждения. Регулировка у них может быть ручной или автоматической
Среди потребителей известны своим качеством трехходовые клапаны корейского производителя Навьен (Navien). Приобретать их следует при наличии котла этой же компании.
Большая точность регулировки достигается посредством установки прибора датской фирмы Данфосс (Danfoss). Работает он полностью автоматически.
Хорошим качеством и демократичной стоимостью отличаются клапаны Валтек (Valtec), изготавливаемые совместно специалистами из Италии и России.
Эффективны в работе изделия компании из США Ханивел (Honeywell). Эти клапаны имеют простую конструкцию, удобны в установке.
Особенности установки изделия
Во время монтажа трехходовых кранов возникает много нюансов. От их учета зависит бесперебойное функционирование отопительной системы. К каждому вентилю производитель прилагает инструкцию, соблюдение которой позволит избежать впоследствии многих неприятностей.
Общие рекомендации по монтажу
Главное, изначально установить вентиль в правильном положении, руководствуясь подсказками, обозначенными стрелками на корпусе. Указатели указывают траекторию водяного потока.
Символом А обозначен прямой ход, В — перпендикулярное или байпасное направление, АВ — объединенный вход или выход.
Исходя из направления, существуют две модели клапанов:
При монтаже по первой из них жидкость поступает в клапан через торцевые отверстия. Выходит через центральное после смешивания.
Во втором варианте теплый поток заходит с торца, а холодный поступает снизу. Выход после смешения разнотемпературной жидкости происходит через второй торец.

Представленная на фото схема монтажа клапана, используется в отопительных системах, запитанных от напорного коллектора
Второй важный момент при монтаже смесительного клапана — нельзя располагать его приводом или термостатической головкой вниз. Перед началом работ необходима подготовка: перед точкой установки перекрывают воду. Далее проверяют трубопровод на наличие в нем остатков, способных стать причиной выхода со строя прокладки клапана.
Главное, выбрать для установки такое место, чтобы к клапану был доступ. Возможно, в дальнейшем его придется проверять или демонтировать. Для всего этого необходимо свободное пространство.
Врезка смесительного клапана
При врезке трехходового клапана смесительного типа в систему централизованного теплоснабжения может быть несколько вариантов. Выбор схемы зависит от характера присоединения системы отопления.
Когда по условиям работы котла является допустимым такое явление, как перегрев теплоносителя в обратке, обязательно возникает избыточное давление. В этом случае монтируют перемычку, дросселирующую избыточный напор. Ее устанавливают параллельно по отношению к подмесу клапана.

Эту схему используют, когда система отопления подключена к безнапорному коллектору. Важно выбирать правильный вариант монтажа исходя из особенностей своего трубопровода
Схема на фото является гарантией качественного регулирования параметров системы. Если трехходовой кран подсоединен непосредственно к котлу, что наиболее часто бывает в автономных отопительных системах, необходима врезка балансировочного клапана.
Если пренебречь рекомендацией по поводу установки балансировочного прибора, в порте АВ могут произойти существенные изменения расхода рабочей жидкости, зависящего от положения штока.
Подключение по приведенной схеме не гарантирует отсутствия циркуляции теплоносителя через источник. Чтобы этого добиться, нужно дополнительно подключить в его контур гидравлический разграничитель и насос циркуляционного типа.
Смесительный клапан монтируют и с целью разделения потоков. Необходимость в этом возникает, когда недопустимо полностью изолировать контур источника, но перепуск жидкости в обратку возможен. Чаще всего такой вариант применяют при наличии автономной котельной.

Балансировочный клапан монтируют в участок трубопровода трехходового клапана, подключенного к порту, обозначенному символом В. Его гидравлическое сопротивление должно быть идентичным сопротивлению котла
Необходимо знать, что при использовании некоторых моделей может возникнуть вибрация и шум. Это происходит по причине несогласованности направлений потока в трубопроводе и смесительном изделии. Из-за этого возможно падение давления на клапане ниже допустимого.
Монтаж разделительного приспособления
Когда температура источника выше, чем необходимо потребителю, в схему включают клапан, разделяющий потоки. В этом случае при постоянном расходе как в контуре котла, так и потребителем, к последнему не придет перегретая жидкость.
Чтобы схема работала, в обоих контурах необходимо присутствие насоса.
На основе вышеизложенного можно подытожить общие рекомендации:
- При монтаже любого трехходового клапана до и после него устанавливают манометры.
- Во избежание попадания всяческих примесей перед изделием монтируют фильтр.
- Корпус прибора не должен подвергаться каким-либо нагрузкам.
- Хорошее регулирование необходимо обеспечить путем врезки перед клапаном приспособлений, дросселирующих избыточное давление.
- При установке клапан не должен находиться над приводом.
Также необходимо выдерживать перед изделием и после него прямые участки, рекомендованные производителем. Несоблюдение этого правила повлечет за собой изменение заявленных технических характеристик. Гарантия на прибор не будет действовать.
Выводы и полезное видео по теме
Нюансы установки, учет которых гарантирует правильную работу клапана:
Подробности установки клапана при монтаже теплого пола:
Такой узел в системе отопления, как термостатический трехходовой клапан необходим, но не во всех случаях. Его наличие — гарантия рационального использования теплоносителя, позволяющая экономно потреблять топливо. Дополнительно он выступает и в роли прибора, обеспечивающего безопасность эксплуатации ТТ котла.
Все же прежде чем приобрести такое устройство, нужно предварительно проконсультироваться по поводу целесообразности его монтажа.
Если у вас есть необходимый опыт или знания по теме статьи и вы можете ими поделиться с посетителями нашего сайта, пожалуйста, оставляйте свои комментарии, задавайте вопросы в расположенном ниже блоке.