Триггер Шмитта — общее представление
В ходе проектирования импульсной схемы, у разработчика может возникнуть потребность в пороговом устройстве, которое могло бы из подаваемого на его вход сигнала непрямоугольной формы (например пилообразного или синусоидального) формировать на выходе чистый прямоугольный сигнал с определенными значениями высокого и низкого уровней напряжения.
На данную роль хорошо подходит триггер Шмитта, — схема, обладающая парой стабильных выходных состояний, которые под действием входного сигнала сменяют друг друга скачком, то есть на выходе получается именно прямоугольный сигнал.

Характерная особенность триггера Шмитта заключается в наличии определенного диапазона между уровнями напряжений для входного сигнала, при выходе напряжения входного сигнала за который происходит переключение на выходе данного триггера с низкого уровня — на высокий и наоборот.
Данное свойство триггера Шмитта называется гистерезисом, а участок характеристики между пороговыми входными значениями — областью гистерезиса. Разница между верхним и нижним пороговыми значениями для входа триггера Шмитта определяет ширину области его гистерезиса, которая служит мерой чувствительности триггера. Чем шире область гистерезиса — тем менее чувствителен триггер Шмитта, чем уже область гистерезиса — тем его чувствительность выше.
Триггеры Шмитта выпускаются в виде специализированных микросхем, где внутри одного корпуса может находиться сразу несколько отдельных триггеров. Такие микросхемы имеют определенный нормированный порог переключения, и дают крутые фронты на выходе, несмотря на далекую от прямоугольной форму входного сигнала. Кроме того, триггер Шмитта может быть построен и на базе логических элементов, в этом случае у разработчика появляется возможность очень точно задать и настроить ширину области гистерезиса своего порогового устройства.
Обратим внимание на рисунок, и более внимательно рассмотрим принцип работы триггера Шмитта.

Здесь представлено схематическое изображение элемента триггера, а также его передаточная и временная характеристики. Как видим, при уровне входного сигнала Uвх ниже нижнего порога срабатывания Uпор.н, на выходе триггера Шмитта — тоже, соответственно, напряжение низкого уровня U0, близкое к нулю.
В процессе нарастания напряжения входного сигнала Uвх, его значение сначала достигает нижней границы области гистерезиса Uпор.н, нижнего порога, при этом на выходе как и прежде ничего не изменяется. И даже когда входное напряжение Uвх заходит в область гистерезиса, и в течение некоторого времени находится внутри нее, то на выходе все равно ничего не происходит — на выходе по-прежнему напряжение низкого уровня U0.
Но как только уровень входного напряжения Uвх сравнивается с верхним порогом области гистерезиса Uпор.в (области срабатывания) — выход триггера скачком переходит в состояние высокого уровня напряжения U1. Если входное напряжение Uвх будет продолжать нарастать дальше (в пределах допустимого для микросхемы), выходное напряжение Uвых изменяться уже не будет, так как достигнуто одно из двух устойчивых состояний — высокий уровень U1.
Теперь, допустим, что входное напряжение Uвх стало снижаться. При возврате в область гистерезиса изменений на выходе не происходит, уровень по-прежнему высокий U1. Но как только напряжение входного сигнала Uвх сравняется с нижней границей области гистерезиса Uпон.н — выход триггера Шмитта скачком перейдет в состояние с напряжением низкого уровня U0. На этом основана работа триггера Шмитта.

Иногда оказываются полезными триггеры Шмитта, где внутри микросхемы реализован логический элемент «И», а на выходе установлен инвертор «НЕ» (инвертирующий триггер Шмитта). В этом случае передаточная характеристика будет выглядеть наоборот: когда напряжение выходит за верхнюю границу области гистерезиса — на выходе триггера Шмитта появляется низкий уровень, а когда возвращается ниже области гистерезиса — на выходе появится высокий уровень. Это практически элемент И-НЕ с гистерезисом.

Триггер Шмитта может быть собран и на операционном усилителе (ОУ). Давайте рассмотрим один из вариантов его реализации в общих чертах. Инвертирующий вход ОУ заземляется, а входной сигнал подается через резистор R1 на неинвертирующий вход ОУ. Выход ОУ по цепочке обратной связи через резистор R2 соединяется с неинвертирующим входом ОУ. Прямоугольное напряжение снимается с выхода ОУ.
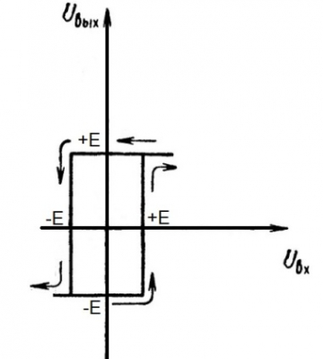
Напряжение на выходе операционного усилителя традиционно определяется по формуле Uвых=K*Uа. Обычно Uвых.макс равно напряжению питания ОУ (обозначим его буковй E), а K – коэффициент усиления ОУ, имеет порядок 1000000. Напряжение на выходе может изменяться от +E до -E. Здесь мы не будем вдаваться в особые подробности, и для упрощения понимания рассмотрим яркий пример, где входной резистор и резистор в цепи обратной связи равны между собой: R1=R2.
Итак, в самом начале, когда Uвх=0, следовательно и Ua=0, тогда и Uвых=0, так как напряжение на неинвертирующем входе ОУ не превышает напряжения на его инвертирующем входе.
Если теперь Uвх немного увеличить, то немного увеличится и Ua. Тогда Uвых сильно увеличится (в соответствии с величиной К), поскольку напряжение на неинвертирующем входе ОУ станет превышать напряжение на его инвертирующем входе, который, как мы решили, заземлен. Тогда, за счет того что точка Ua находится между резисторами, включенными согласно приведенной схеме, в точке Ua напряжение сильно увеличится, оно станет равно примерно Uвых/2, и благодаря лавине положительной обратной связи, на выходе ОУ появится устойчивое напряжение Uвых (равное напряжению питания ОУ = E). Таким образом ОУ перешел в устойчивое состояние с высоким уровнем напряжения на выходе. При этом Ua=(E+Uвх)/2.
Если в этом состоянии начать уменьшать Uвх, то даже когда оно станет равным нулю, то в точке Ua все равно будет E/2, и на выходе ОУ все равно будет напряжение высокого уровня Uвых=E.

Только когда Uвх станет равно -E, только тогда Uа станет равно нулю, и выход ОУ перейдет в состояние с низким уровнем напряжения (-E). В этом случае опять возникнет лавина обратной связи — теперь Uвых=-E, Ua = (Uвх-Е)/2, а это много ниже чем на неинвертирующем входе ОУ. Триггер перешел в устойчивое состояние с низким уровнем на выходе. Чтобы теперь выход ОУ обратно перешел в высокое состояние, необходимо, чтобы Uвх вновь стало равно E, что вызовет очередную лавину обратной связи. Возврата в нулевую точку больше не произойдет.
Популярные публикации:
- Простая RC-цепь для задержки прямоугольных импульсов
- Драйвер полевого транзистора из дискретных компонентов
- Выбор драйвера для MOSFET (пример расчета по параметрам)
Надеюсь, что эта статья была для вас полезной. Смотрите также другие статьи в категории Электрическая энергия в быту и на производстве » Практическая электроника
Подписывайтесь на наш канал в Telegram: Мир электричества
Здесь можно оствавить комментарий, задать вопрос и просто пообщаться:
Чат по электротехнической тематике
О сайте Электрик Инфо и авторах статей