Измерение напряжения

В радиолюбительской практике это наиболее распространенный вид измерений. Например, при ремонте телевизора измеряются напряжения в характерных точках устройства, а именно на выводах транзисторов и микросхем. Если есть под рукой принципиальная схема, и на ней указаны режимы транзисторов и микросхем, то найти неисправность опытному мастеру не составит труда.
При налаживании конструкций, собранных своими руками, без измерения напряжений обойтись нельзя. Исключения составляют лишь классические схемы, про которые пишут примерно так: «Если конструкция собрана из исправных деталей, то наладки не требуется, заработает сразу».
Как правило, это классические схемы электроники, например, мультивибратор. Такой же подход может получиться даже к усилителю звуковой частоты, если он собран на специализированной микросхеме. Как наглядный пример TDA 7294 и еще много микросхем этой серии. Но качество «интегральных» усилителей невелико, и истинные ценители строят свои усилители на дискретных транзисторах, а порою на электронных лампах. И вот тут-то без налаживания и связанных с этим измерений напряжений просто не обойтись.
Как и что предстоит измерять
Показано на рисунке 1.

Рисунок 1.
Возможно, кто-то скажет, мол, что тут можно измерять? И какой смысл собирать подобную цепь? Да, практического применения для такой схемы найти, наверно, трудно. А для познавательных целей она вполне подойдет.
Прежде всего, следует обратить внимание на то, как подключается вольтметр. Поскольку на рисунке показана цепь постоянного тока, то и вольтметр подключается с соблюдением полярности, указанной на приборе в виде знаков «плюс» и «минус». В основном это замечание справедливо для стрелочного прибора: при несоблюдении полярности стрелка отклонится в обратную сторону, по направлению к нулевому делению шкалы. Так что получится какой-то отрицательный ноль.
Цифровые приборы, мультиметры, в этом плане более демократичны. Даже если измерительные щупы подключены в обратной полярности, напряжение все равно будет измерено, только на шкале перед результатом появится знак «минус».
Еще на что следует обратить внимание при измерении напряжений это диапазон измерений прибора. Если предполагаемое напряжение находится в пределах, например, 10…200 милливольт, то такому диапазону соответствует шкала прибора 200 милливольт, а измерение упомянутого напряжения по шкале 1000 вольт вряд ли даст вразумительный результат.
Так же следует выбирать диапазон измерений и в других случаях. Для измеряемого напряжения 100 вольт вполне подойдет диапазон 200В и даже 1000В. Результат будет один и тот же. Это что касается современного мультиметра.
Если же измерения производятся старым добрым стрелочным прибором, то для измерения напряжения 100В следует выбрать диапазон измерений, когда показания находятся в середине шкалы, что позволяет осуществить более точный отсчет.
И еще одна классическая рекомендация по использованию вольтметра, а именно: если величина измеряемого напряжения неизвестна, то измерения следует начинать, установив вольтметр на самый большой диапазон. Ведь если измеряемое напряжение будет 1В, а диапазон будет 1000В, самая большая опасность в неверных показаниях прибора. Если же получится наоборот, — диапазон измерений 1В, а измеряемое напряжение 1000, покупки нового прибора просто не избежать.
Что покажет вольтметр
Но, пожалуй, вернемся к рисунку 1, и попробуем определить, что, же покажут оба вольтметра. Для того, чтобы это определить, придется воспользоваться законом Ома. Задачу можно решить за несколько шагов.
Во-первых, рассчитать ток в цепи. Для этого надо напряжение источника (на рисунке это гальваническая батарея с напряжением 1,5 В) разделить на сопротивление цепи. При последовательном соединении резисторов это будет просто сумма их сопротивлений. В виде формулы это выглядит примерно так: I = U / (R1 + R2) = 4,5 / (100 + 150) = 0,018 (А) = 180 (мА).
Маленькое замечание: если выражение 4,5 / (100 + 150) скопировать в буфер обмена, затем вставить в окно виндоус-калькулятора, то после нажатия клавиши «равно» будет получен результат вычислений. На практике вычисляются еще более сложные выражения, содержащие квадратные и фигурные скобки, степени и функции.
Во-вторых, получить результаты измерений, как падение напряжения на каждом резисторе:
U1 = I * R1 = 0,018 * 100 = 1,8 (В),
U2 = I * R2 = 0,018 * 150 = 2,7 (В),
Для проверки правильности вычислений достаточно сложить оба получившиеся значения падения напряжений. Сумма должна быть равна напряжению батареи.
Возможно, у кого-то может возникнуть вопрос: «А если делитель будет не из двух резисторов, а из трех или даже из десяти? Как определить падение напряжения на каждом из них?». Точно так же, как и в описанном случае. Сначала надо определить общее сопротивление цепи и рассчитать общий ток.
После чего этот уже известный ток просто умножить на сопротивление соответствующего резистора. Иногда такие вычисления делать приходится, но тут тоже есть одно но. Чтобы не сомневаться в полученных результатах ток в формулы следует подставлять в Амперах, а сопротивление в Омах. Тогда, вне всяких сомнений, результат получится в Вольтах.
Входное сопротивление вольтметра
Сейчас все привыкли пользоваться приборами китайского производства. Но это не говорит о том, что качество у них никудышное. Просто в отечестве никто не додумался до производства собственных мультиметров, а стрелочные тестеры делать, видимо, разучились. Просто обидно за державу.

Рис. 2. Мультиметр DT838
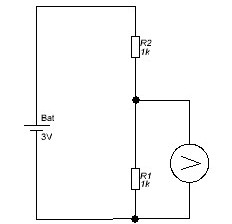
Когда-то в инструкциях к приборам указывались их технические характеристики. В частности для вольтметров и стрелочных тестеров это было входное сопротивление, и указывалось оно в Килоомах/Вольт. Были приборы с сопротивлением 10 К/В и 20 К/В. Последние считались более точными, поскольку меньше подсаживали измеряемое напряжение и показывали более точный результат. Сказанное можно подтвердить рисунком 3.

Рисунок 3.
На рисунке показан делитель напряжения из двух резисторов. Сопротивление каждого резистора 1КОм, напряжение питания 3В. Нетрудно догадаться, даже считать ничего не надо, что на каждом резисторе будет ровно половина напряжения.
Теперь представим, что измерения проводятся прибором ТЛ4, который в режиме измерения напряжений имеет входное сопротивление 10КОм/В. При указанном на схеме напряжении вполне подходит предел измерений 3В, на котором полное сопротивление вольтметра составит 10*3 = 30(КОм).
Таким образом, получается, что параллельно резистору сопротивлением в 1КОм подключено еще 30КОм. Тогда общее сопротивление при параллельном включении составит 999,999Ом. Хотя и несколько меньше меньшего, но не намного. Поэтому погрешность результата измерения напряжения будет незначительна.
В случае, если оба резистора делителя имеют номинал 1 мегаом, то результаты расчета будут выглядеть примерно так:
Суммарное сопротивление параллельно соединенного вольтметра и резистора R1 будет меньше меньшего, а по расчету составит 29,126КОм. Кто не верит, может для практики пересчитать по формулам для параллельного соединения сопротивлений.
Общий ток в цепи делителя: I = U / (R1 + R2) = 3 / (1000 + 29,126) = 0,0029150949446423470012418304464176 (мА).
Значения сопротивлений подставлены в килоомах, поэтому ток получился в миллиамперах. Тогда получается, что вольтметр покажет
0,0029150949446423470012418304464176 * 29,126 ≈ 0,085 В.
А ожидалась половина, т.е. полтора вольта! Если ток в миллиамперах, сопротивление в килоомах, то результат получается в вольтах. Хотя и не по системе СИ, но иногда поступают и так.
Конечно, такой делитель несколько не реален: зачем на напряжение всего 3В ставить резисторы сопротивлением 1 мегаом? А может где-нибудь такой делитель и применяется, вот только напряжение на нем надо мерить совсем другим прибором.
Например, один из самых дешевых китайских мультиметров DT838, на всех диапазонах измерения напряжений обладает входным сопротивлением 1 мегаом, намного выше, чем прибор в предыдущем примере. Но это вовсе не говорит о том, что стрелочные авометры отжили свой век. В некоторых случаях они просто незаменимы.
Измерение переменных напряжений
Все методы и рекомендации, касающиеся измерения постоянных напряжений, справедливы и для переменных: вольтметр включается параллельно участку цепи, входное сопротивление вольтметра должно быть по возможности большим, диапазон измерений должен соответствовать измеряемому напряжению. Но при измерении переменных напряжений следует учитывать еще два фактора, которых постоянное напряжение не имеет. Это частота напряжения и его форма.
Измерения могут проводиться двумя типами приборов: либо современным цифровым мультиметром, либо «допотопным» стрелочным тестером. Естественно, что оба прибора при таком измерении включаются в режим измерения переменных напряжений. Оба прибора рассчитаны на измерение напряжений синусоидальной формы, и при этом будут показывать действующее значение напряжения.
Действующее напряжение U составляет 0,707 амплитудного напряжения Uм.
U = Uм/√2 = 0,707 * Uм, откуда можно сделать вывод, что Uм = U * √2 = 1,41 * U
Здесь уместно привести широко распространенный пример. При измерении переменного напряжения прибор показал 220В, значит, амплитудное значение по формуле получится
Uм = U * √2 = 1,41 * U = 220 * 1,41 = 310В.
Этот расчет подтверждается каждый раз, когда сетевое напряжение выпрямляется диодным мостом после которого стоит хотя бы один электролитический конденсатор: если померить постоянное напряжение на выходе моста, то прибор покажет как раз 310В. Эту цифру следует запомнить, она может пригодиться при разработке и ремонте импульсных блоков питания.
Указанная формула справедлива для всех напряжений, если они будут иметь синусоидальную форму. Например, после понижающего трансформатора имеется 12В переменки. Тогда после выпрямления и сглаживания на конденсаторе получится
12 * 1,41 = 16,92 почти 17В. Но это если не подключена нагрузка. При подключенной нагрузке постоянное напряжение подсядет почти до 12В. В случае, когда форма напряжения иная, чем синусоида эти формулы не работают, приборы показывают не то, что от них ожидалось. На этих напряжениях измерения производятся другими приборами, например, осциллографом.
Еще один фактор, влияющий на показания вольтметра это частота. Например, цифровой мультиметр DT838 согласно своих характеристик меряет переменные напряжения в диапазоне частот 45…450Гц. Несколько лучше в этом плане выглядит старенький стрелочный тестер ТЛ4.
В диапазоне напряжений до 30В его частотный диапазон составляет 40…15000Гц (почти весь звуковой диапазон, можно пользоваться при настройке усилителей), но с увеличением напряжения допустимая частота падает. В диапазоне 100В это 40…4000Гц, 300В 40…2000Гц, а в диапазоне 1000В всего 40…700Гц. Вот тут уже бесспорная победа над цифровым прибором. Эти цифры также справедливы лишь для напряжений синусоидальной формы.
Хотя иногда и не требуется никаких данных о форме, частоте и амплитуде переменных напряжений. Например, как определить работает гетеродин коротковолнового приемника или нет? Почему приемник ничего не «ловит»?
Оказывается, все очень просто, если воспользоваться стрелочным прибором. Надо включить его на любой предел измерения переменных напряжений и одним щупом (!) коснуться выводов транзистора гетеродина. Если есть высокочастотные колебания, то они продетектируются диодами внутри прибора, и стрелка отклонится на некоторую часть шкалы.
Популярные публикации:
- Про резисторы для начинающих заниматься электроникой
- Терморегулятор для погреба своими руками
- Как отремонтировать зарядное устройство телефона
Надеюсь, что эта статья была для вас полезной. Смотрите также другие статьи в категории Практическая электроника, Ремонт бытовой техники
Подписывайтесь на наш канал в Telegram: Мир электричества
Здесь можно оствавить комментарий, задать вопрос и просто пообщаться:
Чат по электротехнической тематике
О сайте Электрик Инфо и авторах статей